• 実用新案
  • 権利登録済
生活雑貨
文具
園芸
工具
リビング
ホビー・レジャー
農業・園芸
機械・DIY・家電

巻き戻し防止付きストレッチカッター

知財訴訟費用保険
希望契約形態
  • 譲渡
  • ライセンス
希望譲渡価格 - ※応相談
希望ライセンス価格
  • 契約金
    ※応相談
  • ロイヤリティ
    ※応相談
試作品 貸出はありません
特許簡易価値評価書

概要

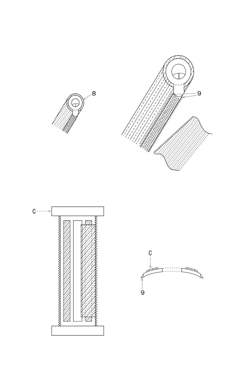
ストレッチフィルムをホールドし、切断刃を一体としたカッターでありフィルムを簡単に綺麗にカットできまたフィルム側の端面が切断部に密着する事により引き出したフィルムの巻き戻しを防止する事ができ、また次の引きはがしも容易でフィルムの端面を簡単に見つけられ容易に引き出す事が出来る。

権利所有者からのコメント

現在はストレッチフィルムを切断するカッターが無く、フィルムを引きちぎる方法でカットしておりストレッチフィルム側に残った切断面が綺麗な切断面にならず、次にストレッチフィルムを引き出す時に手間がかかる点が問題であった。

上記権利についてのお問い合わせ

商品名
販売・契約方法
必須お名前・担当者名
必須フリガナ
会社名
必須電話番号
必須メールアドレス
お問い合わせ内容必須
必須個人情報の取扱い
への同意
個人情報の取扱いについて

お探しの権利がない場合もお気軽にお問い合わせください。